
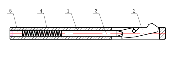
1 刀具说明

POS. | 说明 |
1 | 刀杆 |
2 | BW刀片 |
3 | 销钉 |
4 | 弹簧 |
5 | 调节螺丝 |
SV-BW系列正反孔口去毛刺倒角刀具是为满足现代化生产要求,提供的一个简单灵活的倒角去毛刺解决方案。SV-BW去毛刺倒角刀具使得前后向去毛制加工更为简单,能够通过人工方便捷的更换刀片。整个SV-BW 系统仅由5个简单的部件组成,提高产品使用的稳定性。 对通孔的去毛刺或倒角操作只需一个机加工过程即可完成,而无需改变主轴的转向。 主轴的正向旋转配合刀具的正向工进来实现正向倒角的加工,一旦倒角达到预设尺寸,刀片会收入刀杆内,随后快进穿过工件。一旦通过孔的后侧,其内部的工作机构会使刀片回到初始位置,反向的直线进给加工出合适的后向倒角。 赛万特正反去毛刺倒角刀的简洁设计,适合于提高去毛刺效率,利于稳定生产。该刀具无复杂的或耗时的预调过程。钻孔的直径决定了所需要的刀杆的尺寸,倒角的大小可通过尾部的调节螺丝和进给量来调整。 刀片侧面的圆弧形设计避免了刀片在过孔时对孔壁的划伤,只会对内孔有轻微的挤压并不会造成扩孔的现象。 为了保证生产效率刀具可一直旋转入孔。 |
功能 自然状态,在弹簧压力的作用下,销钉会将刀片顶出刀杆。 一个正反向切削刀片在其进入孔的过程中去除孔口处的毛刺并倒角。 刀具过孔时刀片会自动收入刀杆内部。 依靠流畅的圆弧表面设计,避免了刀片在通过加工孔时对孔壁的划伤。 反向工进产生了后向的倒角,而无需停止主轴或者转变主轴的转速。在完成了后向倒角的加工后,刀具能够以快速进给的方式回到起始位置。刀片会因弹簧的力回到自然状态 正反向去毛刺或倒角操作通过这种加工方式便能顺利地完成。 |
|
刀具特点 Ø 刀片及刀体的结构设计考虑了刀具的刚性问题,紧密的配合提高了刀体的强度及系统的稳定性 Ø 简单的结构设计使得刀具的维护简单迅速。
|
|
Ø 巧妙的机械结构保证了刀具使用的可靠性 Ø BW刀具使用方便,无需复杂的预调 |
|
Ø 刀具结构设计简单可靠 |
|
Ø 刀片侧面圆弧形状的设计避免刀片过孔时划伤内壁。 |
|
Ø 使用SV-BW刀座,可以极大拓展SV-BW刀具的加工范围。 Ø 作为SV-BW刀具的研发和生产者,我们还可以根据客户要求量身定制非标刀具。 |
|
Ø SV-BW刀具适用于从软到硬的各类材料的加工(最高加工硬度可达50HRC)。刀具在使用过程中可以通过弹性调节做需要的调整。加长的刃口使得刀片寿命延长。 | |
Ø 刀具可用于螺纹孔的去毛刺(倒角大小需大于牙距) |
点击观看加工视频:
2 刀具选型
刀具选型: 孔径尺寸决定了刀具的订货号以及刀片的订货号,标准刀具型号如图,标准刀具的刀杆直径尺寸是比型号数值小0.2mm的(BW-6以下包括BW-6的刀杆直径尺寸是比型号数值小0.1mm) | |
订货实例: | |
① 孔径:10mm 刀具型号:SV-BW-10 刀片型号:SV-3# | ②孔径:9.9mm 刀具型号:SV-BW-10 刀片型号:SV-3# |
③孔径:11.5mm 刀具型号:SV-BW-11.5 刀片型号:SV-3-1/2# | ② 径:10.5mm 刀具型号:SV-BW-10.5 刀片型号:SV-3-1/2#
|
注意:请根据孔直径公差的下差尺寸选型。以上尺寸皆为下差尺寸。 | |
小孔可换刀片倒角刀
结构简图

型号 | L | L1 | L2 | L3 | D | d | φD1 | φD2 | 刀片 | 推荐转速rpm |
SV-BW-3.0(3.0-3.5) | 87.5 | 3.6 | 9 | 34.5 | 6 | 2.8 | 5.4 | 6.2 | SV-1/8# | 1200 |
SV-BW-3.5(3.5-4.0) | 87.5 | 3.6 | 9 | 34.5 | 6 | 3.2 | 5.8 | 6.6 | SV-1/8# | 1200 |
SV-BW-4.0(4.0-4.5) | 98 | 6.3 | 11.4 | 45 | 6 | 3.8 | 6.6 | 7.4 | SV-5/32# | 1200 |
SV-BW-5.0(5.0-5.5) | 105 | 9.4 | 17.3 | 52 | 6 | 4.8 | 6.8 | 9 | SV-3/16# | 1200 |
推荐进给F=0.05-0.2mm/rpm
不安装刀片的刀杆型号请在刀杆型号后加“-OM”
可换刀片倒角刀
结构简图

型号 | L | L1 | L2 | D | φD1 | φD2 | 刀片型号 | 推荐转速rpm |
SV-BW-6.0 | 110 | 8.3 | 14.2 | 5.8 | 9.2 | 9.8 | SV-1# | 900 |
SV-BW-7.0 | 110 | 7.6 | 13.4 | 6.8 | 10 | 10.8 | SV-1# | 900 |
SV-BW-8.0 | 115 | 5.9 | 15.5 | 7.8 | 13 | 14.4 | SV-2# | 900 |
SV-BW-8.5 | 115 | 6 | 15.5 | 8.3 | 13.4 | 14.8 | SV-2# | 900 |
SV-BW-9.0 | 127 | 6.4 | 15 | 8.8 | 13.2 | 14.4 | SV-3# | 900 |
SV-BW-10.0 | 127 | 5.9 | 15 | 9.8 | 14.6 | 16 | SV-3# | 900 |
SV-BW-11.0 | 127 | 10.1 | 20.5 | 10.8 | 16.8 | 18.2 | SV-3.5# | 600 |
SV-BW-12.0 | 127 | 8.6 | 19 | 11.8 | 17.8 | 19.2 | SV-3.5# | 600 |
SV-BW-13.0 | 127 | 8.4 | 18.7 | 12.8 | 18.8 | 20.2 | SV-3.5# | 600 |
SV-BW-14.0 | 140 | 13.5 | 26.5 | 13.8 | 20.2 | 22.4 | SV-4# | 600 |
SV-BW-15.0 | 140 | 13.4 | 26.5 | 14.8 | 21.4 | 23.6 | SV-4# | 600 |
SV-BW-16.0 | 155 | 13.6 | 26.4 | 15.8 | 23 | 24.2 | SV-4# | 600 |
SV-BW-17.0 | 155 | 13.4 | 26.5 | 16.8 | 23.4 | 25.6 | SV-4# | 600 |
SV-BW-18.0 | 155 | 13.4 | 26.5 | 17.8 | 24.4 | 26.6 | SV-4# | 600 |
SV-BW-19.0 | 180 | 13.4 | 26.5 | 18.8 | 25.4 | 27.6 | SV-4# | 600 |
SV-BW-20.0 | 180 | 13.4 | 26.5 | 19.8 | 26.4 | 28.6 | SV-4# | 600 |
SV-BW-21.0 | 180 | 13 | 27.1 | 20.8 | 27 | 29.6 | SV-5# | 600 |
SV-BW-22.0 | 180 | 13 | 27.1 | 21.8 | 28 | 30.6 | SV-5# | 600 |
SV-BW-23.0 | 180 | 13 | 27.1 | 22.8 | 29 | 31.6 | SV-5# | 600 |
SV-BW-24.0 | 180 | 13 | 27.3 | 23.8 | 30 | 32.6 | SV-5# | 600 |
SV-BW-25.0 | 180 | 13 | 27.1 | 24.8 | 30.6 | 33.4 | SV-5# | 600 |
推荐进给F=0.05-0.2mm/rpm
不安装刀片的刀杆型号请在刀杆型号后加“-OM”
3 SV-BW倒角系统使用说明
3.1 更换刀片
1.拆除刀片
|
SV-BW刀片没办法直接拆除,只能把后部的螺丝先松开,取出弹簧和销钉后,才能将刀片拆除 |
2. 安装刀片
|
SV-BW刀片穿过槽孔后往上提勾住定位销后放平,再将销钉、弹簧装起来后用螺丝锁紧,完成刀片的安装。 |
3.2 设定刀片力

刀片力可以通过刀杆尾端的调节螺钉进行调节。扭转调节螺钉(顺时针方向增加刀片力,逆时针方向减小刀片力)。在工件材质较硬或者倒角要求大一点时需要增加刀片力 |
4 SV-BW刀具编程信息

无需改变机床主轴转向或者停止主轴转动 AV:向前工进 AR:向后工退 EV:向前快进 ER:向后快退 刀刃未开始切削时采用快进或者快退,当刀刃快接触到孔口上方或者毛刺上方时开始切削时采用工进或者工退。 |
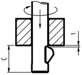
刀具使用步骤
1.快速将刀具移动至工件孔口上方,可以参考刀杆端面离孔口距离A
|
|
2.以工进的方式向前加工至刀杆端部离开孔口距离为B的位置(确保刀片已完全收入刀体)
|
|
3.快速过孔至刀杆端部到孔背面距离等于C,使刀片能完全伸出
|
|
4.反向工进去除背面毛刺,直至进给到刀杆端面离开孔背面距离为D的位置,随后刀具可快速移出孔内
|
|

注意:当孔口为曲面时,编程时请考虑不平整值X。(即把X作为工件材料的一部分)
5 SV-BW组合式刀具——用于孔径大于25mm
SV-BW组合式刀具适用于大孔径(大于25毫米)的加工场合,通过标准刀具改制的刀座,SV-BW-去毛刺系统能够配合到组合刀杆上。 |
SV-BW组合式刀具尺寸图
SV-BW刀座尺寸()

∅D :加工孔径 | ∅D1:刀杆直径 | ∅D2:夹持柄直径 |
L :加工孔深 | L1:刀座有效长度 | L2:夹持柄长度 |
∅D1=(∅D-0.2) | ||
6可加工斜率
SV-BW正反孔口去毛刺刀具对孔径比有要求,最大孔径比(d:D)约为0.5。其相当于基孔所在的斜面的角度在18°以内。 如果基孔和主孔的孔径比(d:D)大于0.5,表示其斜度大于18°,我们只能修改刀片主偏角和后角来实现(需要测试能否满足客户要求)验证标准刀片是否合适的公式:d:D≤0.5 当加工如图贯穿孔的时候,主轴转速需要降低,进给保持不变。 |
|
7 去毛刺倒角过程中产生的问题解决
故障现象 | 产生原因 | 解决方案 |
孔口正反倒角尺寸不一致 | u 前向和后向的进给量不一致 u 前后毛刺厚度不一致 | ü 可以在倒角过小的一侧减小进给量 ü 可以在倒角过大的一侧增加进给量 |
倒角没有被加工出来 | u 刀片力太小 u 刀片太钝了 u 毛刺太厚 | ü 可以通过顺时针旋转调节螺丝来增加刀片力 ü 更换新刀片 ü 更换钻头 |
倒角尺寸太小,毛刺没有被去除 | ü 刀片力太小 ü 刀片后角太小 | ü 顺时针旋转调节螺丝增加刀片力 ü 更换更大后角刀片 |
倒角尺寸太大 | ü 进给量太小 ü 刀片力太强 ü 刀具尺寸选型过大 | ü 可以增加进给速度 ü 可以通过逆时针旋转调节螺钉来减小刀片力 ü 选用较小尺寸的刀具 |
倒角不均匀 | u 转速太高 u 刀片处于不稳定状态 u 小孔与大孔的直径比过大
| ü 降低转速 ü 增加刀片力及进给 量 ü 过大的孔径比无法使用SV-BW刀具解决
|
倒角面上出现振纹 | u 工件或者刀片固定强度不够 u 刀具处于不稳定状态 u 转速太高 | ü 确保工件及刀具都固定稳妥 ü 增加刀片进给量并且检查刀片力是否合适(大的弹力) ü 降低转速 |
产生二次毛刺 | u 刀片力太大 | ü 逆时针旋转调节螺丝降低刀片力 |
孔壁有压痕 | u 刀片力过大 u 孔壁光洁度要求高 | ü 逆向旋转调节螺丝降低刀片力 ü 在最后一道加工工序之前倒角加工 |
正反去毛刺倒角刀的简洁设计,适合于提高去毛刺效率,利于稳定生产。该刀具无需复杂的或耗时的预调过程。钻孔的直径决定了所需要的刀杆的尺寸,倒角的大小可通过尾部的调节螺丝和进给量来调整
English
















L1 = L+26.5X=(