螺纹底孔正反倒角去毛刺案例
2022-03-15 14:11:35
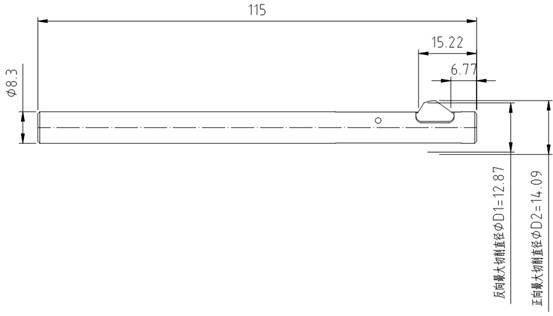
内孔正反去毛刺倒角刀
螺纹底孔正反倒角去毛刺案例
产品名称:蜗壳 (底座)


材料:球铁
螺纹大小:M10
螺纹底孔大小:D8.5
选用刀具:SV-BW-8.5
刀具设置:为螺纹底孔倒角,倒角单边大小必须要大于螺距,才能使得攻丝后无二次毛刺产生。比如M10的螺纹底孔倒角大小必须大于1.5mm 。
通过调整刀具尾部的弹力调节弹簧,往内旋转6圈,使得刀片弹力足够大。
刀具图纸:

刀刃切削时段加工参数:转速n=1200 ,进给F=150 。(非刀刃切削时段F=3000-快进快退)
攻丝结束后加工效果图片:攻丝后无毛刺产生,无二次翻边产生。


如果您有更多关于螺纹孔倒角去毛刺的需求,请点击舍弃式去毛刺倒角刀查看详情!
或者直接联系我们!
English